聯系人:王經理
銷售電話:15610293837
銷售QQ:2962700085
公司地址:山東省濰坊高新區新城街道玉清社區光電路155號濰坊高新區光電產業加速器(一期)1號樓301

PRODUCT CENTER
聯系人:王經理
銷售電話:15610293837
銷售QQ:2962700085
公司地址:山東省濰坊高新區新城街道玉清社區光電路155號濰坊高新區光電產業加速器(一期)1號樓301
森林防火氣象站又稱森林火險監測站,森林火險預警氣象站,森林防火氣象站通過監測容易發生森林火災區域的風速風向、空氣的溫度、相對濕度、太陽輻射等氣象因子,可以對預防森林大火的發生。
一、森林防火氣象站產品簡介
森林防火氣象站又稱森林火險監測站,森林火險預警氣象站,森林防火氣象站通過監測容易發生森林火災區域的風速風向、空氣的溫度、相對濕度、太陽輻射等氣象因子,可以對預防森林大火的發生。
森林火災是森林生態系統的大敵,它能在很短時間內,燒毀大面積的森林和大量的林副產品,破壞林分結構和森林環境,破壞自然界生態平衡,造成氣候失調,水土流失,河流淤塞,洪水泛濫或水源枯竭。通過監測容易發生森林火災區域的風速風向、空氣的溫度、相對濕度、太陽輻射等氣象因子,可以對預防森林大火的發生,在發生大火時也可以指導工作人員進行快速合理的滅火工作,使財產損失降到低點。
該設備由氣象傳感器,采集器,太陽能供電系統,立桿支架,云平臺五部分組成。免調試,可快速布置,廣泛運用于氣象、農業、林業、環保、海洋、機場、港口、科學考察、校園教育等領域。
二、產品特點
1、低功耗采集器:靜態功耗小于50uA
2、標配GPRS聯網、支持擴展藍牙、有線傳輸
3、7寸安卓觸屏,版本:4.4.2、四核Cortex?-A7,512M/4G
4、支持modbus485傳感器擴展
5、太陽能充電管理MPPT自動功率點跟蹤
6、三米碳鋼支架,兩節法蘭盤對接
7、配備聲光報警器
8、人員靠近設備可聲光喊話報警,可短信/電話云通知
9、ABS材質防護箱,耐腐蝕、抗氧化,防水等級IP66
三、技術參數
名 稱 | 測量范圍 | 分 辨 率 | 準 確 度 |
環境溫度 | -50~+100℃ | 0.1℃ | ±0.5℃ |
相對濕度 | 0~100%RH | 0.1% | ±3% RH |
風 向 | 0~360°(16方向) | 1° | ±5° |
風 速 | 0~60m/s | 0.1m/s | ±(0.3+0.03V)m/s |
雨 量 | ≦4mm/min | 0.2mm | ±0.4mm |
光照強度 | 0-200000Lux | 1Lux | ±2% |
大氣壓力 | 10~1100hPa | 0.1hPa | ±0.3hPa |
土壤溫度 | -50~+80℃ | 0.1℃ | ±0.5℃ |
土壤濕度 | 0~100% | 0.1% | ±3%RH |
二氧化碳 | 0-5000PPM | 1PPM | ±40PPM±讀數的3% |
可以根據用戶需求拓展配置:日照時數、蒸發量傳感器、露點溫度傳感器、紫外線輻射傳感器、光合輻射傳感器等各種氣象要素傳感器。 | |||
供電系統 | 市電/太陽能/多電源供電系統可選 | ||
通訊系統 | RS485、USB、無線GPRS、以太網等通訊方式 | ||
專用支架 | 安裝防護箱、傳感器、供電電源、通訊設備等 | ||
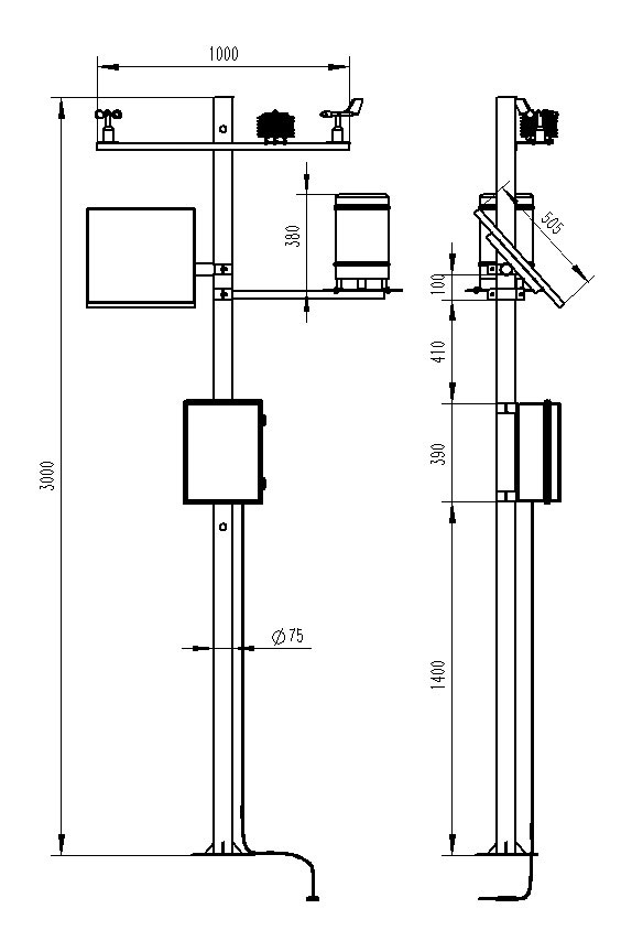
四、產品尺寸圖
五、產品結構圖
六、上位機軟件介紹
1、PC單機版數據接收、存儲、查看、分析軟件
2、支持串口數據接收、處理、展示
3、支持json字符串、modbus485等通信方式
4、可自設置存儲時間,modbus485采集模式下可自設置采集時間
5、支持自助增加、刪除、修改監測參數的協議、名稱、圖標等
6、支持數據后處理功能
7、支持外置運行javascript腳本
七、安卓APP介紹
1、安卓單機版數據接收、存儲、查看、分析軟件
2、支持藍牙數據接收
3、手機休眠后軟件后臺接收、處理
4、json數據自動添加設備,modbus設備支持掃碼添加設備
5、支持歷史數據查看、分析、導出表格,支持曲線展示、單數據點查看。
6、支持數據后處理功能
7、支持外置運行javascript腳本
八、云平臺介紹
1、CS架構軟件平臺,支持手機、PC瀏覽器直接觀測、無需額外安裝軟件。
2、支持多帳號、多設備登錄
3、支持實時數據展示與歷史數據展示儀表板
4、云服務器、云數據存儲,穩定可靠,易于擴展,負載均衡。
5、支持短信報警及閾值設置
6、支持地圖顯示、查看設備信息。
7、支持數據曲線分析
8、支持數據導出表格形式
9、支持數據轉發,HJ-212協議,TCP轉發,http協議等。
10、支持數據后處理功能
11、支持外置運行javascript腳本
WX-GQX8交通自動氣象站最獨特之處在于它們的"場景化思維"。不同于普通的氣象監測設備,它們專門針對交通需求設計,能捕捉到對行車安全最關鍵的氣象要素。當團霧開始形成時,它們比駕駛員更早察覺;當路面出現結冰風險時,它們能提前預警。這種"設身處地"的監測視角,讓交通安全管理有了更精準的決策依據。···
WX-EL1便攜式EL組件測試儀基于電致發光原理工作。當光伏組件受到正向偏置電壓時,其內部的半導體材料會激發出光子,形成電致發光現象。這些光子的強度和分布與組件內部的結構和缺陷情況密切相關。測試儀通過高分辨率紅外相機捕捉這些光信號差異,并將其轉換成圖像,從而實現對光伏組件內部缺陷的精準識別。這種無損檢測技術能夠檢測出隱裂、虛焊、斷柵、黑心片等多種缺陷,為光伏組件的質量把控提供了有力支持。···
“防患于未然”是防汛工作的核心理念。WX-DB1水庫大壩檢測系統不僅限于監測,更在于預警。通過大數據分析、人工智能算法等先進技術,系統能夠智能分析監測數據,預測大壩可能面臨的風險,并提前發出預警信號。這樣一來,管理部門就能有足夠的時間制定應急預案,調配資源,確保在洪水來臨前做好充分準備,最大限度地減少災害損失。···
在珠海連片的高標準農田里,幾根銀白色立柱悄然立于稻浪之間,頂端旋轉的攝像頭像勤勉的田間觀察員。這套WX-Q3糧食作物四情監測系統,正用科技的力量重新定義"春種秋收"的傳統農事,讓每一株作物都能開口"說話"。植株上方的苗情監測站如同24小時值班的植物醫生,能捕捉肉眼難辨的生長細節。晨霧未散時,紅外鏡頭已開始掃描葉片的溫度差異;正午烈日下,多光譜相機在分析葉綠素濃度的深淺變化。···
傳統的氣象監測設備大多固定在特定地點,體積龐大且不便移動,很難滿足野外應急或移動監測的需求。而WX-PQX10便攜式自動氣象站徹底打破了這種空間限制,它高度集成的設計讓機身十分輕巧,能輕松放進背包,跟隨考察隊、應急人員深入各種復雜環境。無論是翻山越嶺的科學考察,還是緊急救援的現場監測,它都能隨時“上崗”,讓氣象數據不再受地點約束。···
WX-CW16H 4通道16孔熒光定量PCR儀以其獨特的設計,實現了多通道并行檢測,大大提高了實驗效率。同時,16孔的容量設計,既滿足了大規模樣本篩查的需求,又保持了操作的便捷性。熒光定量PCR技術的應用,更是使得該儀器在DNA/RNA定量分析方面展現出極高的準確性和靈敏度。這些特點使得4通道16孔熒光定量PCR儀成為生命科學研究、疾病診斷、藥物研發等領域的得力助手。···